![]() |
| Transistor MOS FET |
Reciben el sobrenombre de MOS porque en su estructura hay tres capas sucesivas de METAL-OXIDO-SEMICONDUCTOR. Hay dos tipos de transistores MOS.
FET MOS de empobrecimiento
Sobre un substrato existe un canal que une al surtidor y al drenador, encima de los cuales existe una capa de SiO2, óxido de silicio, de carácter aislante y sobre ella una placa de un metal que, en el caso de la figura siguiente, es aluminio. También podemos ver su símbolo electrónico.
![]() |
| Composición de los transistores FET MOS de empobrecimiento |
La puerta del transistor MOS es, por lo tanto, una placa de aluminio (Al) aislada por el óxido del semiconductor.
Al aplicar a la puerta una polarización negativa respecto al surtidor, los electrones del canal son repelidos de la zona cercana al metal, produciéndose zonas vacías que reducen la corriente ID de paso entre el surtidor y el drenador. En caso de aplicarse a la puerta una tensión positiva, se produciría un aumento de la conductividad del canal N y aumentaría el valor de ID.
Obsérvese que, aunque la tensión de la puerta controla la corriente ID, al estar aislada la puerta, apenas consume potencia.
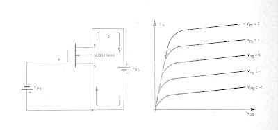
En la figura siguiente se ofrece el circuito con las polarizaciones del transistor MOS de empobrecimiento y sus curvas características.
![]() |
| Circuito polarizado del transistor MOS de empobrecimiento y curvas características |
Cuando la tensión VPS es muy grande, perfora la capa aislante de óxido y el FET se rompe. Por este motivo hay que tomar cuidados especiales en la manipulación de estos transistores, pues la carga electrostática de la mano o del soldador, puede transferirse al transistor y romperlo.
También por este motivo, los fabricantes suelen proporcionar a este tipo de transistores, envueltos en papel de aluminio, de forma que todas sus patillas queden cortocircuitadas.
FET MOS de enriquecimiento
Aunque de estructura parecida a los de empobrecimiento, inicialmente carece de canal entre el surtidor y drenador, como puede observarse en la siguiente figura.
![]() |
| Composición de los transistores FET MOS de enriquecimiento |
Al aplicar una polarización positiva a la puerta, se repelen los huecos situados en la zona cercana a la puerta, al mismo tiempo que se atraen a los electrones del surtidor, produciendo como consecuencia de estas dos acciones la creación de un canal N entre el surtidor y el drenador, tal como se ha dibujado en la siguiente figura.
![]() |
| Formación de un canal N al polarizar positivamente la puerta del transistor MOS de enriquecimiento |
La ID circula entre el surtidor y el drenador con un valor que dependerá de la magnitud del canal formado y por tanto del valor de la tensión VPS.
En la figura siguiente se ofrece el símbolo del MOS de enriquecimiento, correctamente polarizado y sus curvas características.
![]() |
| Circuito polarizado del transistor MOS de enriquecimiento y curvas características |
Escrito por Archie Tecnology
Si te ha gustado esta entrada y te ha sido de utilidad, por favor, ayuda a otros a encontrarnos con un Me Gusta en Facebook, o , un Twitter. Además para que puedas estar informado puntualmente de nuestras novedades puedes hacerte seguidor de este blog y seguirnos en nuestras redes sociales. Muchas gracias por su confianza, que es por lo que trabajamos y hace superarnos día a día.
ARTÍCULOS RELACIONADOS






No hay comentarios:
Publicar un comentario